Author Topic: Microsoft wants to turn your Surface into a boombox (patent)  (Read 1009 times)

Offline javajolt

  • Administrator
  • Hero Member
  • *****
  • Posts: 35984
  • Gender: Male
  • I Do Windows
    • windows10newsinfo.com
Microsoft wants to turn your Surface into a boombox (patent)
« on: November 01, 2019, 01:25:32 AM »
Microsoft is looking to up the quality of the speakers in your Surface tablet, according to a recently published patent.



Microsoft notes thin devices have limited space for speakers, leaving much to be desired about their quality.

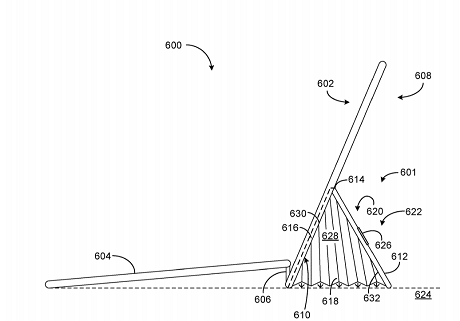
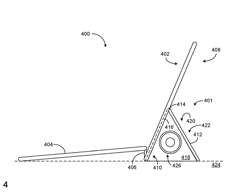
In their patent, published today but filed on the 30th April 2018, Microsoft imagines a proper speaker attached to the kickstand of the Surface. The additional advantage of placing the speaker there is that the space between the kickstand and the Surface can act as a resonant box, enhancing low-end tones.



 
Microsoft is looking to up the quality of the speakers in your Surface tablet, according to a recently published patent.


Microsoft notes thin devices have limited space for speakers, leaving much to be desired about their quality.

In their patent, published today but filed on the 30th April 2018, Microsoft imagines a proper speaker attached to the kickstand of the Surface. The additional advantage of placing the speaker there is that the space between the kickstand and the Surface can act as a resonant box, enhancing low-end tones.

To improve this element Microsoft imagines baffles of some kind closing off space at either end of the box, and also using rubber or such material at the ends of the kickstand to ensure a good seal with the table.



In addition, Microsoft also suggests micro speakers as found in mobile phones may be attached to the baffles, due to their small size. Microsoft notes the main speaker may be a traditional one with magnets or be piezo-electric and therefore thinner.

Microsoft also suggests that the PC would keep track of the position of the kickstand (open or closed) and adjust the characteristics of the sound the PC sends to the speakers.

This kind of ambitious idea seems unlikely to come to market, but in the meantime, while we wait the full patent can be seen here.

source