Back in October Microsoft launched the Surface Duo and Surface Neo which were the company’s first foldable devices. Microsoft promised to make the devices available next year and because of that, there’s little information available about the new foldable devices.
A new
patent (via
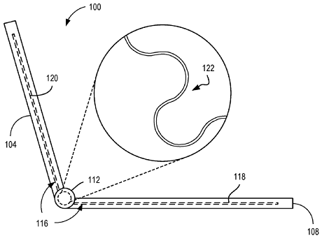
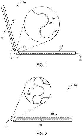
WindowsUnited), however, sheds some light on how Microsoft plans to cool both the devices. According to the patent published on 21st November, Microsoft plans to use the vapor chamber for cooling but will extend it over the hinge to ensure equal cooling on both the sides of the device.

Examples are disclosed that relate to heat transfer devices comprising a vapor chamber and a flexible hinge. One disclosed example provides an electronic device comprising a first portion and a second portion connected by a hinge region, and a vapor chamber extending from the first portion to the second portion across the hinge region, the vapor chamber comprising a first layer comprising titanium, a second layer comprising titanium joined to the first layer to form the vapor chamber, a working fluid within the vapor chamber, and a third layer comprising titanium positioned between the first layer and the second layer, the third layer comprising one or more features configured to conduct the working fluid via capillary action.

While both Surface Duo and Neo won’t be running hot, they will still require decent cooling to ensure optimal performance in different conditions.
source