Author Topic: Microsoft patented "cooling dock" for mobile devices  (Read 959 times)

Offline javajolt

  • Administrator
  • Hero Member
  • *****
  • Posts: 35984
  • Gender: Male
  • I Do Windows
    • windows10newsinfo.com
Microsoft patented "cooling dock" for mobile devices
« on: May 19, 2020, 01:44:33 PM »


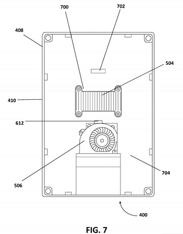
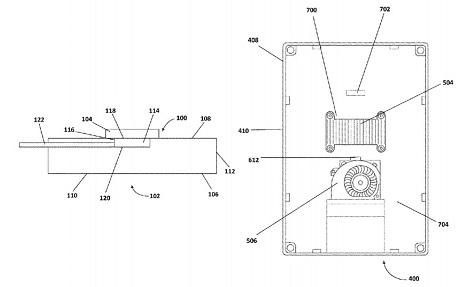
Mobile devices are particularly impressive due to their lightness, manageability and low weight. However, this sometimes causes problems with the development of heat and its dissipation. Microsoft has now developed a patent for a dock, which is to help cool mobile devices.

"Thermal Dock" for mobile devices

The patent was filed on July 17, 2019 and published on May 12, 2020. Microsoft describes an external dock, which can be used to cool mobile devices. So it says:

Quote
Thermal management systems and corresponding use methods are described in. A thermal management system includes a thermal dock operable to cool a computing device in physical contact with the thermal dock. The thermal dock includes a housing, a first thermal management device supported by the housing, and a second thermal management device physically connected to the first thermal management device. The first thermal management device is a different type of thermal management device than the second thermal management device.

Thermal management systems and corresponding application methods are described here. A thermal management system includes a thermal dock that is used to cool a computer device in physical contact with the thermal dock. The thermal dock includes a housing, a first thermal management device that is carried by the housing, and a second thermal management device that is physically connected to the first thermal management device. The first thermal management device is a different type of thermal management device than the second thermal management device.



Whether Microsoft will ever bring such a device onto the market is of course completely open. Still interesting to see what options Microsoft is dealing with here.

Have a look at the Patent here.

source